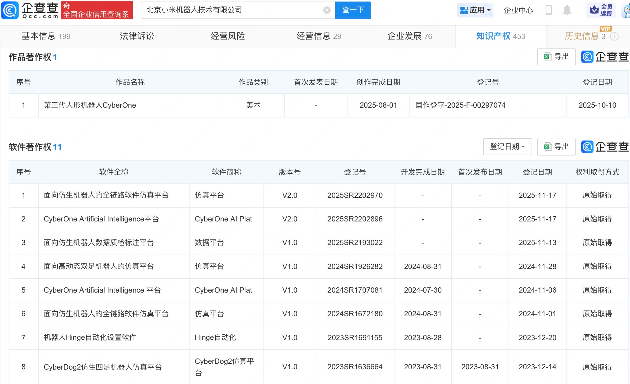
近日,小米公布了人形機器人在汽車工廠自主作業(yè)的視頻,其已經能夠連續(xù)工作3個小時。企查查APP顯示,2025年10月,北京小米機器人技術有限公司登記“第三代人形機器人CyberOne”作品著作權,作品類別為美術。此外,該公司還擁有“面向仿生機器人的全鏈路軟件仿真平臺”“面向仿生機器人數據質檢標注平臺”“CyberDog2仿生四足機器人仿真平臺”軟件著作權。

湖北省版權保護中心是省版權局指定的省內唯一作品登記機構,負責全省的作品登記工作。此外,中心的業(yè)務范圍和職能還包括版權鑒定、糾紛調解、侵權調查、法律維權等。
湖北省版權保護中心將以創(chuàng)新、務實、專業(yè)的精神,竭誠為廣大著作權人和社會各界提供權威、優(yōu)質、高效的服務。
